自嗨锅及其创始人已被多次限消
近日,自嗨锅关联公司杭州金羚羊企业管理咨询有限公司新增一则破产审查案件,申请人为马某,经办法院为杭州市余杭区人民法院,相关话题引发网友热议。
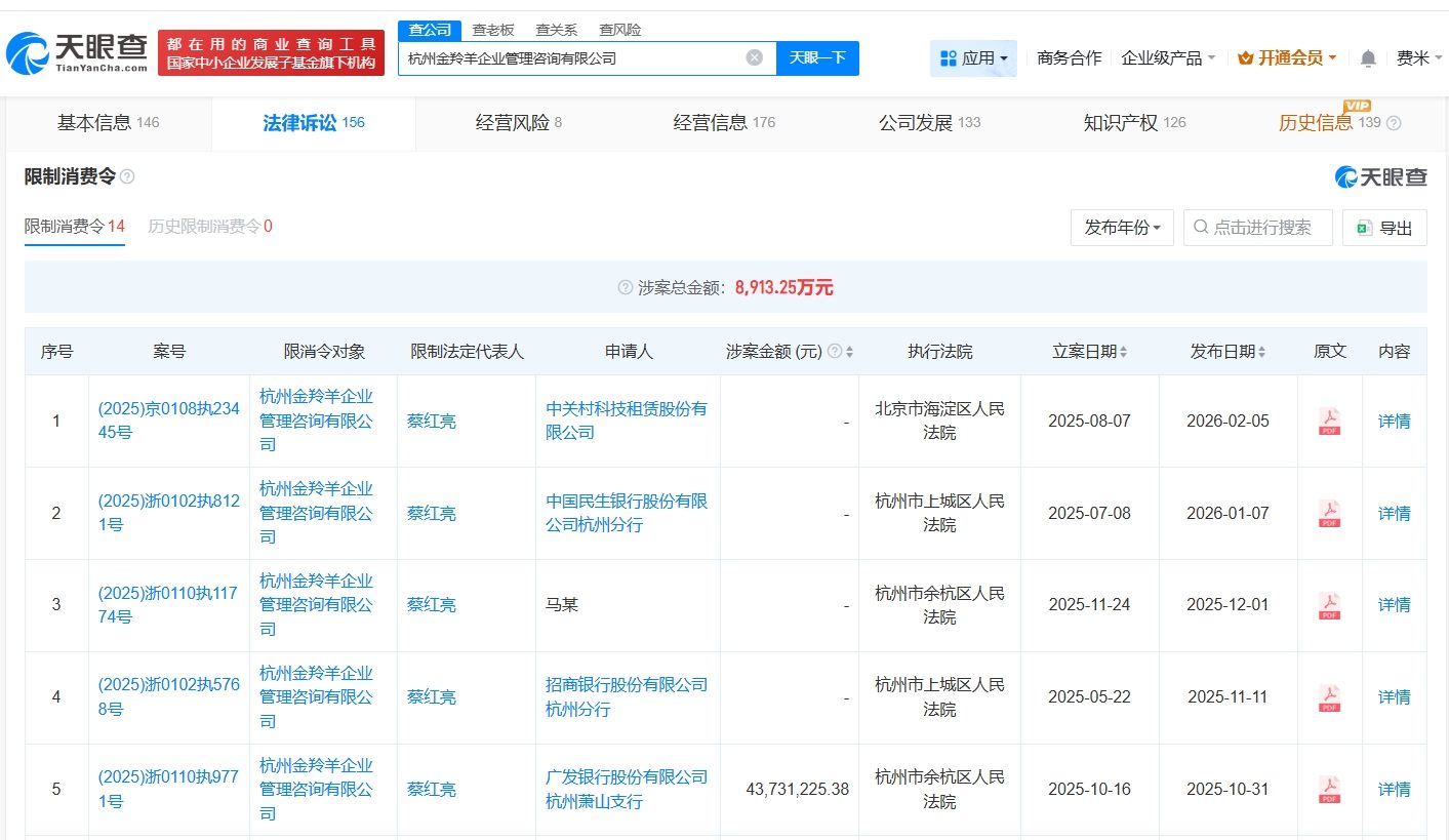
天眼查App显示,杭州金羚羊企业管理咨询有限公司成立于2018年5月,法定代表人、董事长、总经理为创始人蔡红亮,注册资本1.5亿人民币,由Panda International Investment Management Limited、蔡红亮、经新香港第五有限公司等共同持股。天眼风险信息显示,该公司现存6条被执行人信息,被执行总金额超1.4亿元,此外还存在多条股权冻结、失信被执行人(老赖)及限制消费令信息。
任职信息显示,蔡红亮名下关联10余家企业,目前仅3家处于存续状态,为杭州金羚羊企业管理咨询有限公司、海南金羚羊国际贸易有限公司、金华金羚羊贸易有限公司,蔡红亮在上述公司担任法定代表人、执行董事兼总经理等职务,其余企业均已注销。







