百万AB贷何解?|金融乱象观察①
界面新闻记者 | 何柳颖
界面新闻编辑 | 王姝
“我申请了一笔银行贷款,需要填一个紧急联系人,可以帮我这个忙吗?”
听到亲朋好友的请求,许多人选择配合帮忙,殊不知,这可能会将自己卷入“AB贷”的债务漩涡中。
近年来,“AB贷”事件频发,界面新闻记者多方了解到,遭遇“AB贷”的当事人经历高度相似。一个典型案例为,A称需征信良好的朋友或亲属B担任所谓的“紧急联系人”、“监管人”,实际上是以B的名义申请贷款,B在不知情的情况下背负了债务。而充当中介角色的服务公司可能会在事后注销,难以追责。
目前,多地监管部门已对“AB贷”作出相关风险提示,提醒防范不法贷款中介,维护自身合法权益。
百万债务
沈超(化名)没想到,会因为一次帮忙而欠下百万债务。
2023年9月,沈超收到王海(化名)的一则消息,其称正在设立一家公司且需办理银行贷款,希望沈超担任紧急联系人。
王海当时的说法是,是紧急联系人,不是担保人,“如果我逾期了联系不上了,你负责联系我一下就行,不承担债务关系也不承担任何征信后果”。
10分钟后,沈超收到一通背调电话,但随后被告知,沈超的信息没通过大数据筛查,需要到线下进行核验。
在王海的再三恳求下,同时也担心自己的数据问题,沈超打车前往指定地点。据沈超对界面新闻记者回忆称,当时他是从一家银行旁边的小门进入到约定的核验地。沈超误以为来到的是银行网点,但事后发现,这个地方和放款银行并无关系。
王海当时还称,银行快要下班,让沈超先把电子版的征信报告发给他,沈超照办。
在一个小会议室里,工作人员对沈超进行信息核验,并称沈超的信用资质很好,可以协助王海贷款,实际贷款人是王海,这笔贷款会在6个月内过渡到王海名下,但关于如何过渡,对方并未给出具体方案 。
次日,工作人员约沈超办理贷款,沈超在现场被引导在手机上进行了多项操作。沈超回忆,当时是“稀里糊涂”地申请了贷款。2024年8月,王海再找理由让沈超将之前申请的借贷额度提取出来。至此,沈超已经帮王海从三家银行、一家消费金融公司处申请了多笔贷款,贷款本金约为108万元。
另外,沈超、王海还与国信众投(北京)征信有限公司(下简称:国信众投)签署了一份助贷服务合同,两人根据合同拟定的服务费率向该公司支付了15万元的服务费。
期间,沈超一度有所怀疑,向王海确认该名工作人员是否为贷款中介,王海称“是信贷机关(机构),不是中介”。
最后,根据该公司和王海的安排,沈超在账户收到放款后,预留了6个月还款金额,其他金额转给王海。6个月内,这笔预留金额全部还给了放款机构。
本以为事情即将尘埃落定,但6个月后,王海承诺的“过渡”始终未能落实,且消息不回、也不按时转账。沈超逐渐意识到,自己已经被卷入到一场骗局中。
沈超随后多次到公安部门报案,均被认定属于经济纠纷。2025年1月,沈超向法院起诉王海,经3轮开庭后两方调解和解。“当时判定他每个月要向我偿还1万多元,但实际每月的偿还金额不足3000元。”沈超表示。
而沈超每个月需要偿还的金额超过了3万元,由于无力偿还,最终逾期。目前已被一家银行起诉执保冻结,一家正在协商,另外2家进行分期还款。
注销的服务公司
目前来看,沈超的经历是一则相当典型的AB贷案例。
所谓“AB贷”,通常指征信不良或资质不足的借款人A,寻找征信良好的B作为所谓的“担保人”,但实际上是用B的身份信息申请贷款,B由此成为法律上认可的借款人,需承担还款责任。
界面新闻多方采访了解到,近年来被诱导AB贷的人不在少数,且经历高度相似。
与沈超类似,邓曼(化名)被其亲友请求充当借贷的“紧急联系人”,接洽的公司反馈称大数据风险有异,需要线下处理。在线下沟通中,公司业务员以各种理由查询了邓曼的征信,最后称需要以邓曼及其亲友两个人的名义共同借款,6个月后就会过渡到其亲友名下,与邓曼无关。最后,公司引导邓曼从两家银行、一家消金公司借贷了24.4万元,同时,需要向该公司支付18%,即4.3万元的服务费。
2024年1月,周茂(化名)也被朋友以“担任监管人、无需还款、无任何责任”为由,被其朋友以及服务公司的业务员引导借贷了70万元。直至借贷后一个月的还款日,周茂才意识到自己是实际借款人。
综合多位受访者的表述,“AB贷”骗局通常具备以下典型特征:
1、由服务公司的业务员以及A引导B至线下沟通,期间通过各种话术查询征信、引导借贷,很多时候涉及多笔借贷,甚至最后的借款金额会高于A原本的资金需求。
2、隐瞒或遮掩B是实际借款人的事实,或者虚假承诺一定期限(如文中的6个月)内会解除B的借贷关系,同时在B账户上预留6个月左右的还款金额,一方面降低B的警觉性,另一方面也能为服务公司争取一个“安全期”。
3、服务公司大多收取高昂的服务费,一般在15%-19%区间。
4、服务公司通常会与A、B单方或双方签署服务合同,明确服务费率的同时,也便于公司规避风险,比如涵盖“鉴于政策、经济环境及银行/金融机构经营方针等的变化,贷款金额、贷款年限、贷款利息等可能会与阁下的贷款需求不符,以银行/金融机构最终批复为准”等内容。
可以发现,当中的服务公司扮演着联结A与B、以及引导借贷的重要角色,根据受访者的反馈,此类公司名字多指向XX征信公司、XX信息科技公司等,具备一定迷惑性。
在沈超的例子中,服务公司指向国信众投。天眼查信息显示,国信众投成立于2007年,位于北京市,是一家以从事商务服务为主的企业。企业注册资本100万元,实缴资本100万元。
该公司已于2023年10月8日被注销,且该公司的法定代表人、主要人员、投资人员曾发生多次变更。在2007年至2015年,该公司曾用名邦成乐诺电器(北京)有限公司;2015年至2017年,该公司改名为北京皇江教育科技有限公司;其后再度更名为国信众投(北京)征信有限公司。
沈超表示,在王海无法落实借贷过渡后,曾和该公司业务员有过沟通,对方表示,王海可能涉及诈骗,建议报警。界面新闻尝试致电天眼查留存的国信众投公司电话,相关号码已为空号。
邓曼的服务公司为成都诚融汇信信息科技有限公司,天眼查信息显示,该公司成立于2026年3月17日,位于四川省成都市,是一家以从事软件和信息技术服务业为主的企业,并无留存电话或邮箱。
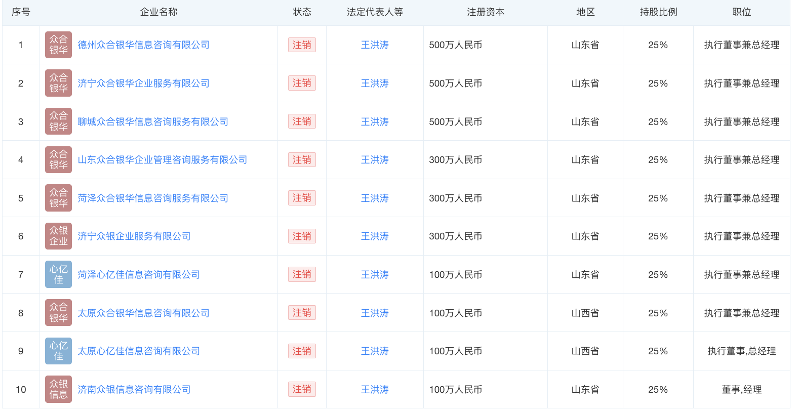
周茂的服务公司为济宁众银企业服务有限公司,该公司也已经于2025年5月14日被注销。公司法定代表人为王洪涛。且值得注意的是,王洪涛在10家关联企业担任法定代表人,这10家企业目前均为注销状态,多家公司名字涵盖“众合银华”、“众银”。

AB贷涉嫌违反多项法律法规
目前,沈超与周茂分别背负了108万元、70万元的债务,两人均在寻求司法途径的解决办法。
邓曼较为幸运,在借款次日选择了报警处理,警方未予立案但给了一份回执,邓曼凭此回执与服务公司交涉,最后成功退还服务费以及立即还清了借款,但也产生了500多元的利息以及提前还款的违约金。
法律人士认为,AB贷链条涉嫌违反多项法律法规,或涉合同诈骗罪、非法经营罪、违反消费者权益保护法等。
“或涉合同诈骗罪,若中介存在虚构事实隐瞒真相的行为,比如虚构‘仅为担保人’‘6个月内解除借贷关系’等事实,隐瞒B是实际借款人的真相,诱骗B签订贷款合同,骗取服务费并转移债务,符合‘以非法占有为目的,在签订、履行合同过程中虚构事实、隐瞒真相,骗取对方财物’的构成要件。”广强律师事务所合伙人、非法集资辩护中心主任曾杰告诉界面新闻记者。
“非法经营罪,若中介机构存在私自放贷给A或B的行为,并收取高于年化利率36%的利息服务费综合费用,这种行为就属于一种非法放贷类的非法经营罪。可能有观点会认为还同时构成骗取贷款罪,但是在这些案例中,由于B是资质充足的担保人,银行本质上是相信B的担保能力,而并没有被A的偿还不足情况所骗。因此我认为,不应该构成骗取贷款。”曾杰向界面新闻记者补充道。
“另外,可能还涉及违反消费者权益保护法,侵犯B的知情权、公平交易权,涉嫌欺诈。”广东粤大律师事务所律师张帅告诉界面新闻记者。
在沈超与周茂案例中,两人均曾向公安机关反映情况但未予立案。张帅认为,当事人可到案发地派出所正式报案,重新整理并提交全套书面证据材料,详细陈述欺诈事实。另外,报警回执不属于立案通知;若只口头告知不予立案,坚决要求出具不予立案通知书。拿到不予立案通知书后,可向原公安机关申请复议;复议被驳回后可向上一级公安申请复核。若公安仍不立案,向当地人民检察院侦查监督科申请立案监督,提交立案监督申请书和相关证据材料,要求检察院责令公安立案。
“另外,若无法通过刑事立案方式维权,可考虑通过民事诉讼,起诉实际借款人或者贷款中介,尽量挽回损失,减轻责任。”张帅向界面新闻记者补充道。
AB贷套路之深,事前应如何规避风险?
多地监管局对此有相关提醒。河北金融监管局今年2月发文称,参与“AB贷”可能使亲友面临信用受损与债务风险。建议消费者选择正规金融机构,核实中介资质。办理贷款业务应优先选择持有金融许可证的银行、消费金融公司等正规金融机构。如确需通过中介机构办理,务必事先核实其经营资质,仔细审阅服务合同条款,警惕“零门槛”“百分百放款”等不实宣传。
“拒绝提供任何担保、帮忙签字、刷脸、查征信、走流程等事项;拒绝提供身份证、银行卡、手机、验证码、人脸识别给任何人、任何中介操作;不签空白合同,合同条款逐字查看,不要在借款人、担保人处签字;谨慎向贷款中介、助贷机构、财税公司等机构贷款;谁签字谁负责,不要轻信能够免除责任。”张帅向界面新闻记者提醒称。



