第零智能港股IPO:网站未备案无法访问 实控人涉互联网助贷业务 招股书竟然“偷”海康威视专利
登录新浪财经APP 搜索【信披】查看更多考评等级
出品:新浪财经上市公司研究院
作者:君
2026年2月10日,深圳第零智能科技股份有限公司(简称“第零智能”或“公司”)向联交所主板提交上市申请,民银资本为独家保荐人。
作为一家AI智能体公司,第零智能招股书披露的网站无法访问,网页显示“未完成备案”。同时,第零智能董事长、执行董事兼首席执行官乔迁的姓名至今仍挂在互联网助贷平台分期乐的官网上,现任该公司首席金融官,且为“分期乐小贷监事”,与招股书披露的信息存在重大出入。一直以来,围绕分期乐周围的“诱导分期消费”“高利贷”“暴力催收”等诸多乱象屡有爆出,但公司方面却从未收敛,黑猫投诉 【下载黑猫投诉客户端】平台累计超14.77万条投诉,在众多网贷平台中位居榜首。
更匪夷所思的是,第零智能招股书中所列两项发明专利的法律持有人为海康威视,而非公司自身。这是性质极其恶劣的欺诈行为,已涉嫌信息披露违规。
网站未备案无法访问 微信公众号注册不到半年
第零智能成立于2020年8月,是一家以自主研发的BlackZero混合智能体集群为技术引擎的创新型企业。公司专注于通过AaaS模式,为法律、品牌、办公、评估、投顾等业务场景提供全流程智能解决方案,致力于以智能体生态重构企业生产关系。
第零智能自研的BlackZero采用分层架构:底层灵活接入国内外主流大模型;中层部署自研的行业小模型、知识库与工具包;上层则是一个智能化的调度系统,可将人类员工作为特殊“智能体”注册入系统,在关键环节实现AI与人类专家的高效协同。

虽然第零智能在招股书中披露了其官网地址www.zerothai.com,但遗憾的是,我们输入该网址后,页面显示“网站暂时无法访问”,原因是“未完成备案”。进一步查询发现,目前公司主要通过微信公众号“第零智能”对外发布信息,这在众多AI智能体公司中颇为罕见。

此外,第零智能的微信公众号注册于2025年9月25日,运营时间较短,至今仅5个月,认证主体为“深圳第零智能科技有限公司”。彼时,第零智能尚未改制为股份有限公司。
网络平台互动沟通是(拟)上市企业投资者关系管理的重要一环。其中,官网作为企业对外宣传的窗口,是多数投资者获取经营信息的重要公开渠道。香港联交所明确要求上市公司设立并维护合规的投资者关系网站,用于集中披露公告、财务报告、公司治理、ESG等信息。这一网站不仅是投资者获取信息的重要入口,也是监管关注的重点合规基础设施。
根据《上市规则》第2.07C(6)条规定,每名发行人必须自设网站,以在其上登载根据本章第2.07C条在交易所网站登载的公告、通告或其他文件。第12.11条规定,新申请人必须在交易所网站及发行人本身网站以电子形式刊发上市文件(包括任何增补上市文件或上市文件修订)。
公司官网无法访问,意味着其无法履行上述强制性规定。而无论导致网站无法访问的具体技术原因为何(如未完成ICP备案、服务器故障、域名过期等),确保网站有效运作以履行披露义务是(拟)上市公司的基本责任。
第零智能的官网因未完成备案而无法访问,很可能违反了《上市规则》关于公司必须拥有可运作网站以刊发公司通讯的规定,独家保荐人民银资本是否切实履行尽职审查责任?
实控人涉互联网助贷业务 招股书与公开资料矛盾
IPO前,第零智能董事长、执行董事兼首席执行官乔迁直接或间接持有公司55.7%股权,为公司控股股东及实际控制人。易点天下风险管理部副总裁何腾为公司第二大股东,持有15.3%股权。
值得注意的是,乔迁并非第零智能创始人。2022年10月,吴昊以417万元价格将公司80%股份转让予深圳擎信管理,其全部股权由周瑞祥以信托方式代乔迁持有。次年4月,双方解除信托安排;同时,乔迁与何腾订立信托安排,由深圳擎信管理代其持有公司16.7%股权,直至2025年9月解除。
但问题在于,何腾委托深圳擎信管理代为持有的股权从何而来?在此之前,第零智能仅有两名股东,深圳擎信管理及紫逸云尚,分别持股80%、20%。紫逸云尚的执行事务合伙人为紫逸云尚(深圳)管理咨询有限责任公司,由张春鑫持股100%。天眼查数据显示,何腾并非紫逸云尚的有限合伙人,也未间接持有紫逸云尚的有限合伙份额。
这是否意味着,何腾存在未披露的股权代持安排?第零智能的股权是否清晰?
招股书显示,2025年9月,深圳擎信管理将公司16.7%股权转让予何腾,但未披露交易对价。而在此之前,乔迁为解除与周瑞祥的信托安排,曾向其支付名义代价1元。
因此,我们有理由怀疑,何腾向深圳擎信管理收购公司股权后,再委托其作为受托人代持。倘若事实果真如此,这种“左手倒右手”的闭环安排,严重缺乏商业合理性,其目的或是隐瞒真实的股东身份。

更加奇怪的是,2025年3月,乔迁、何腾、张春鑫等8人共同设立北京紫尚科技有限公司,但该公司并非持股平台,并无任何对外投资记录,且疑似皮包公司,未登记电话、邮箱等信息,注册地址则与66家公司相同。
第零智能在招股书中声称,何腾只是个人投资者,未实际参与公司经营。那么,其为何要与乔迁、张春鑫成立北京紫尚科技有限公司,三人是否存在未披露的关联关系或利益安排?

据第零智能招股书披露,乔迁曾在深圳乐信软件技术有限公司担任董事兼首席财务官,任职期间为“2014年3月至2022年12月”。然而,乔迁的姓名至今仍挂在乐信软件旗下互联网助贷平台分期乐的官网上,现任该公司首席金融官,且为“分期乐小贷监事”。此外,乔迁还涉及商业保理、融资租赁等金融业务,相关公司大部分已注销。
除乔迁外,第零智能法定代表人、执行董事兼副总裁陈书院也曾在分期乐担任要职。自2014年5月至2022年12月,陈书院在分期乐担任资产管理部高级总监,任职期间与乔迁高度吻合,两人或关系匪浅。也就是说,公司四名执行董事中有两人涉及互联网助贷业务。

2024年5月,中国商报曾发布一篇标题为《他们被“困”在分期乐里》的独家报道,将“分期乐”平台涉嫌诱导部分高中生和大学生分期消费或违规放贷的情况曝光。同年年底,“分期乐”平台套路消费者办高息贷款的新闻被山东媒体再次爆出,一时间引发关注。一直以来,围绕分期乐周围的“诱导分期消费”“高利贷”“暴力催收”等诸多乱象屡有爆出,但公司方面却从未收敛。黑猫投诉显示,其近30天投诉量超3400条,累计投诉量更是多达14.77万条,在众多网贷平台中位居榜首。
一连串问题接踵而至:乔迁作为分期乐首席金融官是否知晓平台乱象,至今是否仍在分期乐任职?第零智能招股书声称其已离职,是否涉嫌误导性陈述?
招股书竟然“偷”海康威视专利
回到主营业务上,第零智能是少数实现盈利的AI智能体公司。2023年、2024年及2025年前三季度,公司分别实现收入0.86亿元、1.69亿元、1.85亿元,录得净利润2126万元、3164.1万元、4041.3万元。
收入、净利润双增背后,第零智能的期间费用率畸低,特别是研发费用率,远低于同行业可比公司,技术含“科”量存疑。报告期内,公司期间费用率分别为15.95%、13.87%、16.16%。其中,各期研发费用金额仅为数百万元,研发费用率仅为个位数,分别为5.91%、5.33%、8.35%。同期,智谱的研发费用率分别为424.7%、702.7%、835.4%,MiniMax的研发费用率分别为2023.2%、619.1%、337.4%。

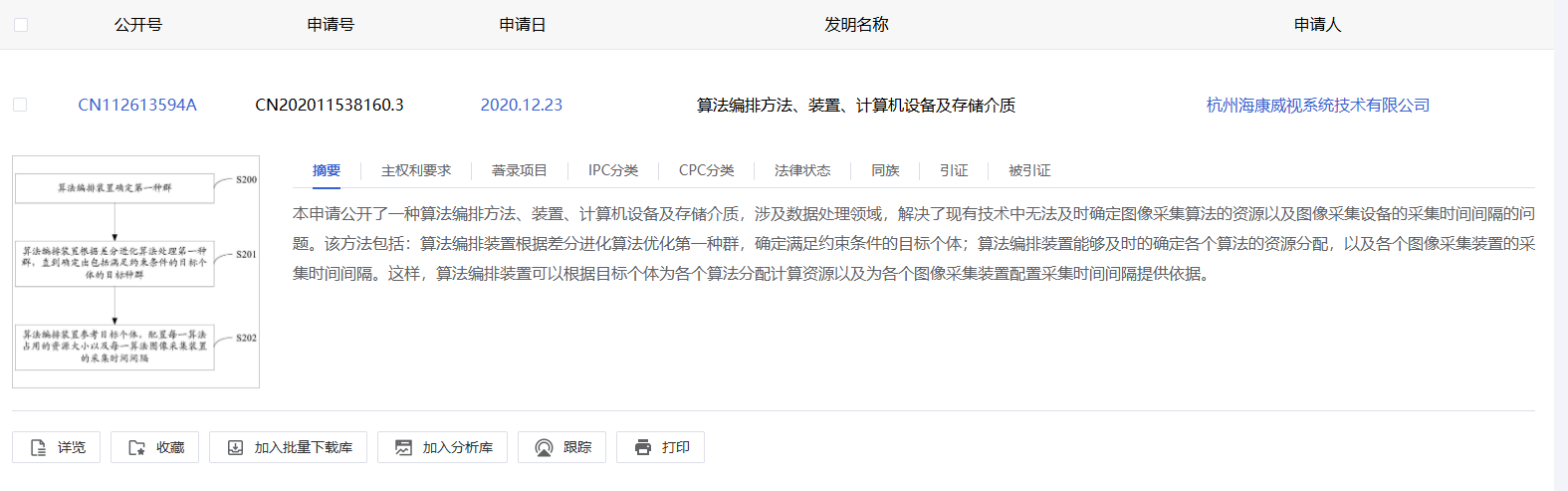
据招股书披露,截至目前,第零智能仅拥有3项专利,专利号分别为CN112613594B、CN112183513B、CN308085049S。


匪夷所思的是,我们通过国家知识产权局专利检索及分析系统对上述专利进行查验时发现,编号“CN112613594B”“CN112183513B”的专利申请人均为杭州海康威视系统技术有限公司,其为A股上市公司海康威视的全资子公司。
也就是说,第零智能招股书中所列两项发明专利的法律持有人为海康威视,而非公司自身。这是性质极为恶劣的欺诈行为,已涉嫌信息披露违规。



